 
Nikola Tesla Patents
Nikola Tesla U.S. Patent 1,061,206 - Turbine
NIKOLA TESLA, OF NEW YORK, N. Y.
TESLA PATENT 1,061,206 TURBINE.
| 1,061,206. | Specification of Letters Patent. | Patented May 6, 1913. | 
Original application filed October 21, 1909, Serial No. 523,832. Divided and this application filed January 17, 1911. Serial No. 603,049.
To all whom it may concern:
Be it known that I, NIKOLA TESLA, a citizen of the United States, residing at New York, in the county and State of New York, have invented certain new and useful Improvements in Rotary Engines and Turbines, of which the following is a full, clear, and exact description.
In the practical application of mechanical power, based on the use of fluids as the vehicle of energy, it has been demonstrated that, in order to attain the highest economy, the changes in the velocity and direction of movement of the fluid should be as gradual as possible. In the forms of apparatus heretofore devised or proposed, more or less sudden changes, shocks and vibrations are unavoidable. Besides, the employment of the usual devices for imparting to, or deriving energy from a fluid, such as pistons, paddles, vanes and blades, necessarily introduces numerous defects and limitations and adds to the complication, cost of production and maintenance of the machines.
The object of my invention is to overcome these deficiencies and to effect the transmission and transformation of mechanical energy through the agency of fluids in a more perfect manner and by means simpler and more economical than those heretofore employed. I accomplish this by causing the propelling fluid to move in natural paths or stream lines of least resistance, free from constraint and disturbance such as occasioned by vanes or kindred devices, and to change its velocity and direction of movement by imperceptible degrees, thus avoiding the losses due to sudden variations while the fluid is imparting energy.
It is well known that a fluid possesses, among others, two salient properties, adhesion and viscosity. Owing to these a solid body propelled through such a medium encounters a peculiar impediment known as “lateral” or “skin resistance,” which is twofold, one arising from the shock of the fluid against the asperities of the solid substance, the other from internal forces opposing molecular separation. As an inevitable consequence a certain amount of the fluid is dragged along by the moving body. Conversely, if the body be placed in a fluid in motion, for the same reasons, it is impelled in the direction of movement. These effects, in themselves, are of daily observation, but I believe that I am the first to apply them in a practical and economical manner in the propulsion of fluids or in their use as motive agents.
In an application filed by me October 21st, 1909, Serial Number 523,832 of which this case is a division, I have illustrated the principles underlying my discovery as embodied in apparatus designed for the propulsion of fluids. The same principles, however, are capable of embodiment also in that field of mechanical engineering which is concerned in the use of fluids as motive agents, for while in certain respects the operations in the latter case are directly opposite to those met with in the propulsion of fluids, and the means employed may differ in some features, the fundamental laws applicable in the two cases are the same. In other words, the operation is reversible, for if water or air under pressure be admitted to the opening constituting the outlet of a pump or blower as described, the runner is set in rotation by reason of the peculiar properties of the fluid which, in its movement through the device, imparts its energy thereto.
The present application, which is a division of that referred to, is specially intended to describe and claim my discovery above set forth, so far as it bears on the use of fluids as motive agents, as distinguished from the applications of the same to the propulsion or compression of fluids.
In the drawings, therefore, I have illustrated only the form of apparatus designed for the thermo-dynamic conversion of energy, a field in which the applications of the principle have the greatest practical value.
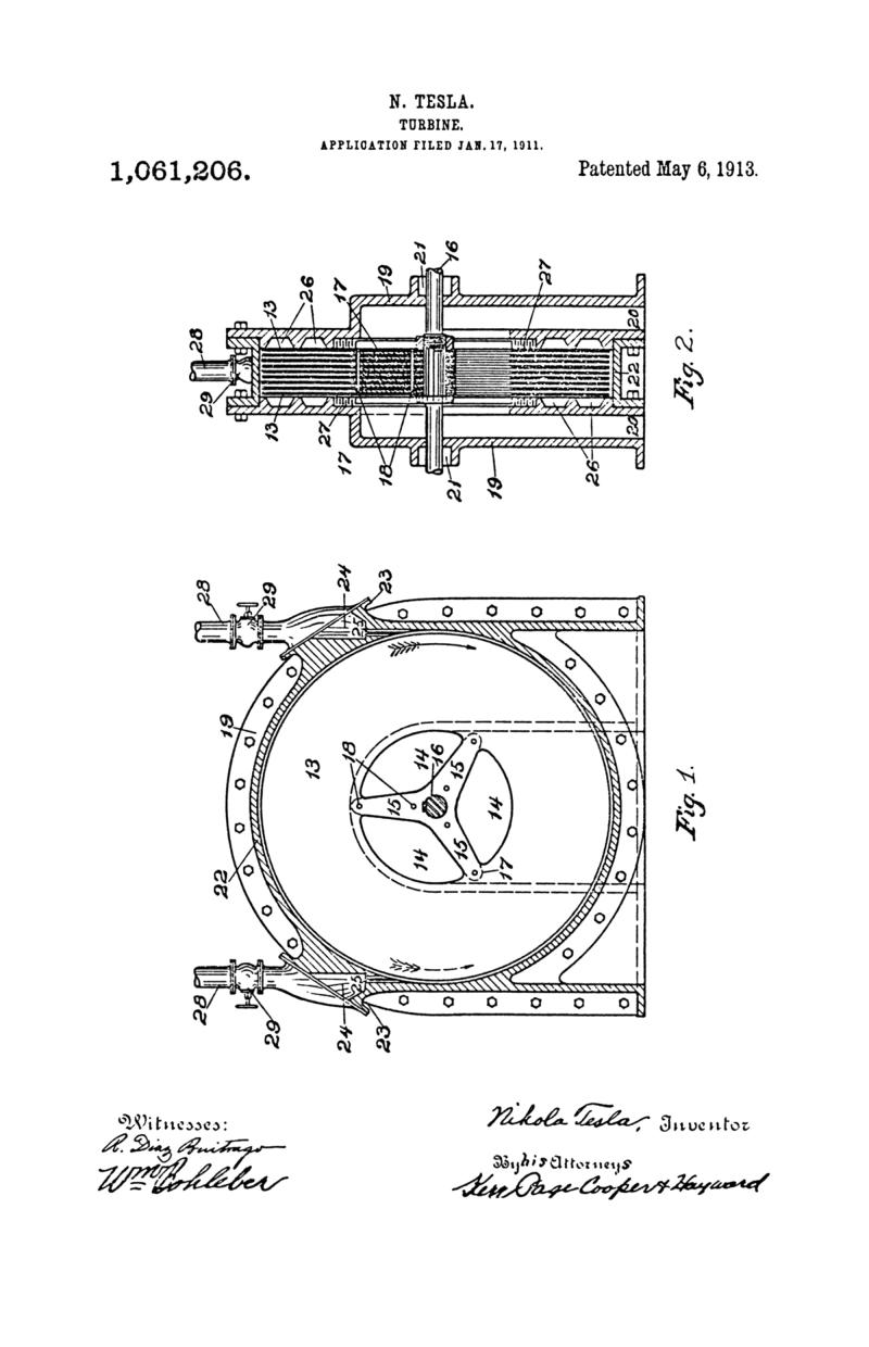
Figure 1 is a partial end view, and Fig. 2 a vertical cross-section of a rotary engine or turbine, constructed and adapted to be operated in accordance with the principles of my invention.
The apparatus comprises a runner composed of a plurality of flat rigid disks 13 of suitable diameter, keyed to a shaft 16, and held in position thereon by a threaded nut 11, a shoulder 12, and intermediate washers 17. The disks have openings 14 adjacent to the shaft and spokes 15, which may be substantially straight. For the sake of clearness, but a few disks, with comparatively wide intervening spaces, are illustrated.
The runner is mounted in a casing comprising two end castings 19, which contain the bearings for the shaft 16, indicated but not shown in detail; stuffing boxes 21 and outlets 20. The end castings are united by a central ring 22, which is bored out to a circle of a slightly larger diameter than that of the disks, and has flanged extensions 23, and inlets 24, into which finished ports or nozzles 25 are inserted. Circular grooves 26 and labyrinth packing 27 are provided on the sides of the runner. Supply pipes 28, with valves 29, are connected to the flanged extensions of the central ring, one of the valves being normally closed.
For a more ready and complete understanding of the principle of operation it is of advantage to consider first the actions that take place when the device is used for the propulsion of fluids for which purpose let it be assumed that power is applied to the shaft and the runner set in rotation say in a clockwise direction. Neglecting, for the moment, those features of construction that make for or against the efficiency of the device as a pump, as distinguished from a motor, a fluid, by reason of its properties of adherence and viscosity, upon entering through the inlets 20, and coming in contact with the disks 13, is taken hold of by the latter and subjected to two forces, one acting tangentially in the direction of rotation, and the other radially outward. The combined effect of these tangential and centrifugal forces is to propel the fluid with continuously increasing velocity in a spiral path until it reaches a suitable peripheral outlet from which it is ejected. This spiral movement, free and undisturbed and essentially dependent on the properties of the fluid, permitting it to adjust itself to natural paths or stream lines and to change its velocity and direction by insensible degrees, is a characteristic and essential feature of this principle of operation.
While traversing the chamber enclosing the runner, the particles of the fluid may complete one or more turns, or but part of one turn, the path followed being capable of close calculation and graphic representation, but fairly accurate estimates of turns can be obtained simply by determining the number of revolutions required to renew the fluid passing through the chamber and multiplying it by the ratio between the mean speed of the fluid and that of the disks. I have found that the quantity of fluid propelled in this manner, is, other conditions being equal, approximately proportionate to the active surface of the runner and to its effective speed. For this reason, the performance of such machines augments at an exceedingly high rate with the increase of their size and speed of revolution.
The dimensions of the device as a whole, and the spacing of the disks in any given machine will be determined by the conditions and requirements of special cases. It may be stated that the intervening distance should be the greater, the larger the diameter of the disks, the longer the spiral path of the fluid and the greater its viscosity. In general, the spacing should be such that the entire mass of the fluid, before leaving the runner, is accelerated to a nearly uniform velocity, not much below that of the periphery of the disks under normal working conditions, and almost equal to it when the outlet is closed and the particles move in concentric circles.
Considering now the converse of the above described operation and assuming that fluid under pressure be allowed to pass through the valve at the side of the solid arrow, the runner will be set in rotation in a clockwise direction, the fluid traveling in a spiral path and with continuously diminishing velocity until it reaches the orifices 14 and 20, through which it is discharged. If the runner be allowed to turn freely, in nearly frictionless bearings, its rim will attain a speed closely approximating the maximum of that of the adjacent fluid and the spiral path of the particles will be comparatively long, consisting of many almost circular turns. If load is put on and the runner slowed down, the motion of the fluid is retarded, the turns are reduced, and the path is shortened.
Owing to a number of causes affecting the performance, it is difficult to frame a precise rule which would be generally applicable, but it may be stated that within certain limits, and other conditions being the same, the torque is directly proportionate to the square of the velocity of the fluid relatively to the runner and to the effective area of the disks and, inversely, to the distance separating them. The machine will, generally, perform its maximum work when the effective speed of the runner is one-half of that of the fluid; but to attain the highest economy, the relative speed or slip, for any given performance, should be as small as possible. This condition may be to any desired degree approximated by increasing the active area of and reducing the space between the disks.
When apparatus of the kind described is employed for the transmission of power certain departures from similarity between transmitter and receiver are necessary for securing the best results. It is evident that, when transmitting power from one shaft to another by such machines, any desired ratio between the speeds of rotation may be obtained by a proper selection of the diameters of the disks, or by suitably staging the transmitter, the receiver or both. But it may be pointed out that in one respect, at least, the two machines are essentially different. In the pump, the radial or static pressure, due to centrifugal force, is added to the tangential or dynamic, thus increasing the effective head and assisting in the expulsion of the fluid. In the motor, on the contrary, the first named pressure, being opposed to that of supply, reduces the effective head and the velocity of radial flow toward the center. Again, in the propelled machine a great torque is always desirable, this calling for an increased number of disks and smaller distance of separation, while in the propelling machine, for numerous economic reasons, the rotary effort should be the smallest and the speed the greatest practicable. Many other considerations, which will naturally suggest themselves, may affect the design and construction, but the preceding is thought to contain all necessary information in this regard.
In order to bring out a distinctive feature, assume, in the first place, that the motive medium is admitted to the disk chamber through a port, that is a channel which it traverses with nearly uniform velocity. In this case, the machine will operate as a rotary engine, the fluid continuously expanding on its tortuous path to the central outlet. The expansion takes place chiefly along the spiral path, for the spread inward is opposed by the centrifugal force due to the velocity of whirl and by the great resistance to radial exhaust. It is to be observed that the resistance to the passage of the fluid between the plates is, approximately, proportionate to the square of the relative speed, which is maximum in the direction toward the center and equal to the full tangential velocity of the fluid. The path of least resistance, necessarily taken in obedience to a universal law of motion is, virtually, also that of least relative velocity. Next, assume that the fluid is admitted to the disk chamber not through a port, but a diverging nozzle, a device converting wholly or in part, the expansive into velocity-energy. The machine will then work rather like a turbine, absorbing the energy of kinetic momentum of the particles as they whirl, with continuously decreasing speed, to the exhaust.
The above description of the operation, I may add, is suggested by experience and observation, and is advanced merely for the purpose of explanation. The undeniable fact is that the machine does operate, both expansively and impulsively. When the expansion in the nozzles is complete, or nearly so, the fluid pressure in the peripheral clearance space is small; as the nozzle is made less divergent and its section enlarged, the pressure rises, finally approximating that of the supply. But the transition from purely impulsive to expansive action may not be continuous throughout, on account of critical states and conditions and comparatively great variations of pressure may be caused by small changes of nozzle velocity.
In the preceding it has been assumed that the pressure of supply is constant or continuous, but it will be understood that the operation will be, essentially the same if the pressure be fluctuating or intermittent, as that due to explosions occurring in more or less rapid succession.
A very desirable feature, characteristic of machines constructed and operated in accordance with this invention, is their capability of reversal of rotation. Fig. 1, while illustrative of a special case, may be regarded as typical in this respect. If the right hand valve be shut off and the fluid supplied through the second pipe, the runner is rotated in the direction of the dotted arrow, the operation, and also the performance remaining the same as before, the central ring being bored to a circle with this purpose in view. The same result may be obtained in many other ways by specially designed valves, ports or nozzles for reversing the flow, the description of which is omitted here in the interest of simplicity and clearness. For the same reasons but one operative port or nozzle is illustrated which might be adapted to a volute but does not fit best a circular bore. It will be understood that a number of suitable inlets may be provided around the periphery of the runner to improve the action and that the construction of the machine may be modified in many ways.
Still another valuable and probably unique quality of such motors or prime movers may be described. By proper construction and observance of working conditions the centrifugal pressure, opposing the passage of the fluid, may, as already indicated, be made nearly equal to the pressure of supply when the machine is running idle. If the inlet section be large, small changes in the speed of revolution will produce great differences in flow which are further enhanced by the concomitant variations in the length of the spiral path. A self-regulating machine is thus obtained bearing a striking resemblance to a direct-current electric motor in this respect that, with great differences of impressed pressure in a wide open channel the flow of the fluid through the same is prevented by virtue of rotation. Since the centrifugal head increases as the square of the revolutions, or even more rapidly, and with modern high grade steel great peripheral velocities are practicable, it is possible to attain that condition in a single stage machine, more readily if the runner be of large diameter. Obviously this problem is facilitated by compounding, as will be understood by those skilled in the art. Irrespective of its bearing on economy, this tendency which is, to a degree, common to motors of the above description, is of special advantage in the operation of large units, as it affords a safeguard against running away and destruction. Besides these, such a prime mover possesses many other advantages, both constructive and operative. It is simple, light and compact, subject to but little wear, cheap and exceptionally easy to manufacture as small clearances and accurate milling work are not essential to good performance. In operation it is reliable, there being no valves, sliding contacts or troublesome vanes. It is almost free of windage, largely independent of nozzle efficiency and suitable for high as well as for low fluid velocities and speeds of revolution.
It will be understood that the principles of construction and operation above generally set forth, are capable of embodiment in machines of the most widely different forms, and adapted for the greatest variety of purposes. In my present specification I have sought to describe and explain only the general and typical applications of the principle which I believe I am the first to realize and turn to useful account.
What I claim is:
1. A machine adapted to be propelled by a fluid consisting in the combination with a casing having inlet and outlet ports at the peripheral and central portions, respectively, of a rotor having plane spaced surfaces between which the fluid may flow in natural spirals and by adhesive and viscous action impart its energy of movement to the rotor, as described.
2. A machine adapted to be propelled by a fluid, comprising a rotor composed of a plurality of plane spaced disks mounted on a shaft and open at or near the same, an enclosing casing with a peripheral inlet or inlets, in the plane of the disks, and an outlet or outlets in its central portion, as described.
3. A rotary engine adapted to be propelled by adhesive and viscous action of a continuously expanding fluid comprising in combination a casing forming a chamber, an inlet or inlets tangential to the periphery of the same, and an outlet or outlets in its central portion, with a rotor composed of spaced disks mounted on a shaft, and open at or near the same, as described.
4. A machine adapted to be propelled by fluid, consisting in the combination of a plurality of disks mounted on a shaft and open at or near the same, and an enclosing casing with ports or passages of inlet and outlet at the peripheral and central portions, respectively, the disks being spaced to form passages through which the fluid may flow, under the combined influence of radial and tangential forces, in a natural spiral path from the periphery toward the axis of the disks, and impart its energy of movement to the same by its adhesive and viscous action thereon, as set forth.
5. A machine adapted to be propelled by a fluid comprising in combination a plurality of spaced disks rotatably mounted and having plane surfaces, an enclosing casing and ports or passages of inlet and outlet adjacent to the periphery and center of the disks, respectively, as set forth.
6. A machine adapted to be propelled by a fluid comprising in combination a runner composed of a plurality of disks having plane surfaces and mounted at intervals on a central shaft, and formed with openings near their centers, and means for admitting the propelling fluid into the spaces between the disks at the periphery and discharging it at the center of the same, as set forth.
7. A thermo-dynamic converter, comprising in combination a series of rotatably mounted spaced disks with plane surfaces, an enclosing casing, inlet ports at the peripheral portion and outlet ports leading from the central portion of the same, as set forth.
8. A thermo-dynamic converter, comprising in combination a series of rotatably mounted spaced disks with plane surfaces and having openings adjacent to their central portions, an enclosing casing, inlet ports in the peripheral portion, and outlet ports leading from the central portion of the same, as set forth.
In testimony whereof I affix my signature in the presence of two subscribing witnesses.
NIKOLA TESLA.
M. LAWSON DYER,
WM. BOHLEBER.
